河北唐山最新疫情最新消息/河北唐山疫情最新情况行程轨迹

唐山新型肺炎确诊病例2月1日唐山有新增肺炎病例吗

〖壹〗、020年2月1日0—24时,唐山市报告新型冠状病毒感染的肺炎新增确诊病例3例 ,新增疑似病例3例。截至2月1日24时,唐山市累计报告确诊病例11例。

河北唐山最新疫情最新消息/河北唐山疫情最新情况行程轨迹-第1张图片

〖贰〗 、唐山2月3日无新增新冠病毒肺炎确诊病例,新增5例疑似病例2月3日0—24时 ,河北省报告新型冠状病毒感染的肺炎新增确诊病例13例,其中,石家庄市5例、邯郸市3例、邢台市2例 、承德市1例、沧州市1例、衡水市1例 。

〖叁〗 、截止2月4日24时 ,全国新型冠状病毒感染的肺炎疫情播报情况如下:确认病例数据 2月4日新增确诊3887例,累计确诊24324例。疑似病例数据 2月4日新增疑似3971例,累计现有疑似23260例。连续三日的当日新增疑似数据环比处于下降趋势 。

〖肆〗、根据河北省卫健委公布的新型冠状病毒感染的肺炎疫情 ,截至2月4日24时,唐山市累计新型冠状病毒感染的肺炎确诊病例12例,其行程轨迹已摸清。活动之日算起) ,请佩戴口罩 ,避免与他人接触;同乘和同场地活动人员家人也需做好个人防护措施。

〖伍〗、新增疑似病例50例,其中,石家庄市15例 、秦皇岛市9例、邢台市8例、张家口市4例 、唐山市4例 、邯郸市3例、承德市3例、沧州市3例 、衡水市1例 。截至2月2日24时 ,河北省累计报告确诊病例113例,其中死亡1例,现有重症病例12例 ,治愈出院3例。

〖陆〗、西藏:截止2月18日24时,现有新冠肺炎确诊病例0例,重症病例0例 ,死亡病例0例,疑似病例0例,治愈出院病例1例 ,累计确诊新冠肺炎病例1例,连续20天无新增确诊或疑似病例。新疆:2020年2月18日0 - 24时,新疆(含兵团)报告新型冠状病毒肺炎新增确诊病例0例 ,新增死亡病例0例 ,新增治愈出院病例2例 。

唐山2月16日患新型肺炎有多少人唐山新增2例肺炎最新消息

月16日唐山无新增确诊病例!新增疑似病例2例!2020年2月16日河北省新型冠状病毒肺炎疫情情况2020年2月16日0—24时,河北省报告新型冠状病毒肺炎新增确诊病例1例。新增治愈出院病例9例,其中 ,沧州市4例、承德市2例 、保定市2例、邯郸市1例。新增疑似病例2例 。

020年2月18日河北省新型冠状病毒肺炎疫情情况2020年2月18日0—24时,河北省报告新型冠状病毒肺炎新增确诊病例4例 。新增治愈出院病例13例,其中 ,张家口市6例、廊坊市2例 、邯郸市2例、秦皇岛市1例、唐山市1例 、保定市1例。无新增疑似病例。

月17日唐山无新增确诊、疑似病例!2020年2月17日河北省新型冠状病毒肺炎疫情情况2020年2月17日0—24时,河北省报告新型冠状病毒肺炎新增确诊病例1例 。新增治愈出院病例14例,其中 ,保定市5例、石家庄市4例 、廊坊市2例 、衡水市2例、唐山市1例。新增死亡病例1例。新增疑似病例1例 。

唐山2月18日新型肺炎确诊病例人数(唐山新增2例肺炎最新消息)

〖壹〗、无新增疑似病例。截至2月18日24时,河北省累计报告确诊病例306例,其中死亡4例 ,现有重症病例20例,累计治愈出院136例。

〖贰〗 、辽宁:2020年2月18日0时至24时,无新增新型冠状病毒肺炎确诊病例 ,新增12例治愈出院病例 ,其中大连市4例、本溪市2例、阜新市3例 、辽阳市1例、葫芦岛市2例,全省累计报告新型冠状病毒肺炎确诊病例121例,治愈出院55例 ,死亡1例 。

〖叁〗、新增疑似病例2例。截至2月16日24时,河北省累计报告确诊病例301例,其中死亡3例 ,现有重症病例23例,累计治愈出院109例。

4月18日唐山新增病例情况(唐山确诊病例最新情况)

〖壹〗 、022年4月18日唐山新冠肺炎疫情情况:2022年4月18日0—24时,唐山新增本土新型冠状病毒肺炎确诊病例1例 ,新增本土无症状感染者28例 。拓展材料:截至4月18日24时新型冠状病毒肺炎疫情最新情况4月18日0—24时,31个省和新疆生产建设兵团报告新增确诊病例3316例。

〖贰〗、022年4月22日0—24时,河北省新增本土新型冠状病毒肺炎确诊病例4例 ,新增本土无症状感染者172例,其中邯郸市21例。 具体数据及疫情情况如下:新增确诊病例分布 秦皇岛市:3例 唐山市:1例 当日新增确诊病例总数为4例,均为本土病例 。

〖叁〗、整体情况:4月18日0时至24时 ,新增2例本土确诊病例(昨日均已通报) ,无新增疑似病例和无症状感染者;新增1例境外输入确诊病例,无新增疑似病例和无症状感染者 。治愈出院9例。本土确诊病例1 居住地址:现住海淀区四季青(地区)镇北坞嘉园西里11号楼。

〖肆〗 、月26日0—24时,31个省(自治区、直辖市)和新疆生产建设兵团报告新增确诊病例1254例 ,其中本土病例1217例,境外输入病例37例 。

〖伍〗、唐山第一次封城封了3个月。2020年1月12日。通过查询唐山疫情防控指挥部官方网站可知,唐山第一次疫情是于2020年1月12日开始的 ,首发病例是在迁西,来自武汉的一名男士来唐山串亲,是确诊病例 。

〖陆〗 、月29日 ,成都市新增3例境外输入新冠肺炎确诊病例,系昨日通报的无症状感染者订正,具体情况如下:患者1:李某某 ,男,20岁,吉林白城人 ,2019年7月至埃及工作。2020年6月23日在当地接受新冠病毒核酸检测 ,结果为阴性。6月26日乘坐3U8392次航班自埃及开罗出发,6月27日抵蓉 。

唐山3月1日新型肺炎确诊病例人数唐山市新型肺炎确诊病例

点击查看:3月20日唐山新增2例本土确诊病例+3例无症状感染者活动轨迹公布更新时间:2022年3月20日2022年3月19日0—24时,河北省新增本土新型冠状病毒肺炎确诊病例21例 ,其中廊坊市12例 、唐山市7例、沧州市1例、邯郸市1例。

新增病例情况:咸宁市新增新型冠状病毒肺炎病例0例,无新增病亡病例。新增治愈出院情况:全市新增治愈出院4例,具体分布为咸安2例 、嘉鱼2例 ,崇阳、赤壁、通山 、通城均为0例 。累计病例情况:截至3月10日24时,咸宁市累计报告新型冠状病毒肺炎病例836例,其中重症病例0例 ,危重病例3例。

022年4月22日0—24时,河北省新增本土新型冠状病毒肺炎确诊病例4例,新增本土无症状感染者172例 ,其中邯郸市21例。 具体数据及疫情情况如下:新增确诊病例分布 秦皇岛市:3例 唐山市:1例 当日新增确诊病例总数为4例,均为本土病例 。

辽宁:2020年2月18日0时至24时,无新增新型冠状病毒肺炎确诊病例 ,新增12例治愈出院病例 ,其中大连市4例、本溪市2例、阜新市3例 、辽阳市1例、葫芦岛市2例,全省累计报告新型冠状病毒肺炎确诊病例121例,治愈出院55例 ,死亡1例 。

截至3月26日24时,新型冠状病毒肺炎疫情最新情况如下:新增确诊病例:全国31个省(自治区、直辖市)和新疆生产建设兵团报告新增确诊病例12例。境外输入病例11例(上海6例,湖南2例 ,四川2例,广东1例)。本土病例1例(在江西) 。新增死亡及疑似病例:无新增死亡病例。无新增疑似病例。

相关推荐

  • 本田fd2费用(本田fd2高清图片)

    本田fd2费用(本田fd2高清图片)

    思域不只Type-R,中国本田粉的希望是这台二手si第九代思域si是中国本田粉的希望,其凭借独特性能配置与文化内涵,成为二手市场热门之选。具体介绍如下:引进与销售情况:2014年,东风本田以CDK(配件进口,国内组装)方式引进第九代思域si,预计销售2000台左右,但最终仅售出四百多台。其落地价突破20万,且只有手动车型,外观内饰与普通思域差异不大,导致销...

    2026/04/23
  • 北京昨日无新增本地/北京今日无新增本地

    北京昨日无新增本地/北京今日无新增本地

    北京新增1例确诊,4例无症状感染者?〖壹〗、月11日,北京市举行新冠疫情防控工作第207场新闻发布会。北京市疾控中心副主任庞星火介绍,1月10日0时至24时,北京市新增1例本地新冠肺炎确诊病例和4例无症状感染者,行踪轨迹如下:确诊病例:某女,49岁,现住顺义区赵全营镇联庄村,为昨日通报确诊病例之妻,居家经营小饭桌。自述2020年12月28日至12月29日出...

  • 【8档变速箱,8档变速箱拨叉正确打黄油方法】

    【8档变速箱,8档变速箱拨叉正确打黄油方法】

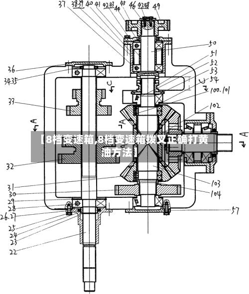
    法士特8档变速箱不同型号优缺点对比〖壹〗、不同型号的法士特8档变速箱在传动效率、扭矩适应范围、换挡平顺性等方面存在差异。有的型号侧重于高效传动,能降低能量损耗,提高车辆燃油经济性;有的型号扭矩承载能力强,适用于重载运输场景;还有的型号在换挡操作上更加轻便、顺滑,提升驾驶体验。〖贰〗、法士特8档变速箱不同型号在性能、适用场景等方面存在差异。8JS85E:这款...

    2026/04/23
  • 别克君越最新费用/别克君越官方报价

    别克君越最新费用/别克君越官方报价

    全新一代君越探店:入门费用下调4万元,掀翻合资轿车桌子全新君越官方的定位是“中高级”,事实上它的定位的确要比雅阁、凯美瑞等车型要更高一些,但看看售价,雅阁的费用为198万元起,凯美瑞的费用为198万元起,大众帕萨特的费用为119万元起。这样来看,全新君越在定价上确实是有点“降维打击”的味道。比如说前段时间上市的别克E5,凭借着更亲民的售价让其有了“掀桌子”...

  • 有什么驱鼠方法/驱鼠方法妙招

    有什么驱鼠方法/驱鼠方法妙招

    怎么让老鼠自动离开可以通过以下方法让老鼠自动离开:自然的驱赶老鼠:有些老鼠在住户家里呆了很长时间了,对房屋环境很熟悉,狡猾度也增加了很多。这类老鼠是不怕风的,因此使用粘鼠板需要在房屋风很大的地方才可以,否则粘不住老鼠的。当然我们也可以使用超声装置或者放一些老鼠天敌的叫声来赶走老鼠。如何让老鼠自动离开?老鼠会爬到床上咬人吗?通过气味驱赶家里的老鼠。使用驱...

  • 中高风险地区查询/中高风险地区名单查询方式

    中高风险地区查询/中高风险地区名单查询方式

    全国中高风险疫情地区怎么在微信上查询〖壹〗、在微信上查询全国中高风险疫情地区,可按以下步骤操作:打开微信并进入“支付”页面:打开微信应用,在底部菜单栏点击“我”,随后选取“支付”选项。进入“城市服务”板块:在“支付”页面中,找到并点击“城市服务”功能入口。该功能整合了各类本地化便民服务,包括与疫情相关的查询服务。〖贰〗、打开微信搜索功能打开手机中的微信ap...

  • 平行进口车型(平行进口车型一览表)

    平行进口车型(平行进口车型一览表)

    “平行进口车”费用更便宜?其中缘由不得不知!用更便宜的费用买车,可以说是所有新车买家的追求,哪怕是高档、昂贵的进口车的买家也不例外。殊不知,进口车里也有空挡可钻。所谓的“便宜货”很可能就是“平行进口车”!由于性价比更高,很多豪车的消费者都对它十分感兴趣。但是,买平行进口车也不是那么容易占到便宜的。平行进口车的优点:平行进口车比中规车更便宜:平行进口车省去了...

    2026/04/23
  • 31省区市新增境外输入25例/31省区市新增境外输入21例

    31省区市新增境外输入25例/31省区市新增境外输入21例

    国家卫健委:11日新增确诊病例46例,本土20例均在福建〖壹〗、月11日0—24时,国家卫健委通报全国新增确诊病例46例,其中本土病例20例均在福建,新增无症状感染者44例,本土18例也均在福建。具体信息如下:新增确诊病例情况总体数据:全国31个省(自治区、直辖市)和新疆生产建设兵团报告新增确诊病例46例。〖贰〗、月24日0—24时,全国新增确诊病例11...

  • 【补胎什么方法比较好,补胎怎么补比较好】

    【补胎什么方法比较好,补胎怎么补比较好】

    电动车真空胎被扎最佳补胎方法电动车真空胎被扎最佳的补胎方法是:冷补胶片、自补剂。冷补胶片:车主需要将轮胎拆下来,其次,从轮胎里面用冷补胶片像补内胎一样补胎。这种补胎的缺点是由于真空胎和内胎材质结构不一样,冷补胶片有时补上去后还会漏气,并且就算当时补好了也非常容易脱落。因此,车主要尽快去维修店维修。电动车真空胎被扎后,最佳补胎方法是采用内补修补胎技术。该技术...

  • 【上海解封最新消息,上海解封时间表】

    【上海解封最新消息,上海解封时间表】

    2022上海解封最新消息:解封时间确定了吗?附最新解封通知022年上海解封最新消息显示,截至3月16日未发布全面解封通知,仅个别小区解封,全面解封时间尚未确定。具体说明如下:2022年上海解封最新消息截止2022年3月16日,上海市疫情防控办未发布针对此次本土疫情全面解封的官方消息。小区解封需由当地社区工作人员申请,经审核后下发通知。关于解封时间的确定性...

返回顶部